NTTデータのマーケティングDXメディア『デジマイズム』に掲載されていた記事から、新規事業やデジタルマーケティング、DXに携わるみなさまの課題解決のヒントになる情報を発信します。
なぜ今、小売業界×ロボットなのか?
実は私たちは以前から、「ロボット」に注目していました。現実世界を認識するためのセンサー技術や、人間の思考に近い役割を果たすAI技術の進化によって、ロボットが自律的に動作することが可能になり、活用できる領域が広がっていくと考えていたからです。
ガートナーが発表した「2020年の戦略的テクノロジ・トレンド」においても、ロボットはトップ10内に位置付けられている「自律的なモノ」に内包されており、今後も世界的に注目が集まると思われます。
実際に、海外ベンチャー企業の調査を進めていると、ここ最近「自律的なロボット」(注1)の実用化を進めている企業が多数登場してきています。
注1)ここでの「自律的なロボット」とは、人間らしい認知や判断、類推、振る舞いを行うロボットの総称を指しています。以降は単純に「ロボット」と記載します。
例えば、Alphabet傘下のWaymoに続き、自律走行車のスタートアップ企業Nuroが食料品や衣料品の配送を目的に、カリフォルニア州でのテスト走行を始めています。同様に、Starship Technologiesも無人配送ロボットによる配送を実施するなど、ラストワンマイル領域におけるロボット活用の動きは顕著になってきています。
出典:自律走行車Nuro「R2」がカリフォルニアでテスト走行へ (https://tabi-labo.com/294875/wt-nuro-r2)
出典:米スターシップの無人配送が既に「普通のサービス」化してる!自動運転技術を活用 (https://jidounten-lab.com/u_autonomous-delivery-service-futsuu)
また、当社主催の「第10回豊洲の港から® presents グローバルオープンイノベーションコンテスト」のファイナリストの中でも、遠隔地へ医薬品を配送するために自律型ドローンを活用するWingcopterや、次世代型倉庫実現のための業務自動化ロボットを扱うdorabotなどが登場しています。
では、私たちが注力している小売業界でのロボット活用はどうでしょうか。一つの事例として、Bossa Nova Roboticsが店内向けに在庫確認ロボットを提供しています。既にアメリカ、ヨーロッパで350店以上に導入しており、2020年中には1000店以上の店舗での実用化をめざしています。
このように、物流・配送の領域から小売の領域へと、人の生活圏内におけるロボット活用は着実に進んでおり、上記の事例を見ても技術的に実用化段階に入ったと私たちは考えています。特に、次世代デジタルストアを構成する技術の一つとして、正に今が店内ロボットの注目時期だと考えています。
出典:Bossa Nova Robotics (https://www.bossanova.com/)
Walmartの店内ロボット特許から見える活用イメージ
みなさんもよくご存知のWalmart、長年世界の小売業のトップを走っている大企業ですが、実は2018年のIT投資額ランキングでは1位アマゾン、2位アルファベットに次ぐ3位がWalmartであり、小売企業にも関わらず、莫大なIT投資をしてデジタル化を進めていることがわかります。
出典:Amazon, Alphabet and Walmart Were Top IT Spenders in 2018 (https://www.wsj.com/articles/amazon-alphabet-and-walmart-were-top-it-spenders-in-2018-11547754757)
Walmartはその莫大なIT投資の中で、ロボットの実用化にも積極的に取り組んでいます。前章で紹介したBossa Nova Roboticsによる店内在庫確認はもちろん、Alert innovationの自律走行ロボット(Alphabot)をオンライン受注商品のピッキングに活用するなど、実用化を進めています。
出典:ウォルマートが自律走行ロボット「Alphabot」で業務効率化 (https://ascii.jp/elem/000/002/007/2007318/)
Walmartはベンチャー企業の活用だけでなく、店内ロボットに関する特許も多数取得しています。Walmartがこの先、店内ロボットをどのように活用しようとしているのか、これら特許からいくつかピックアップしてご紹介します。
商品棚と関連するロボット特許
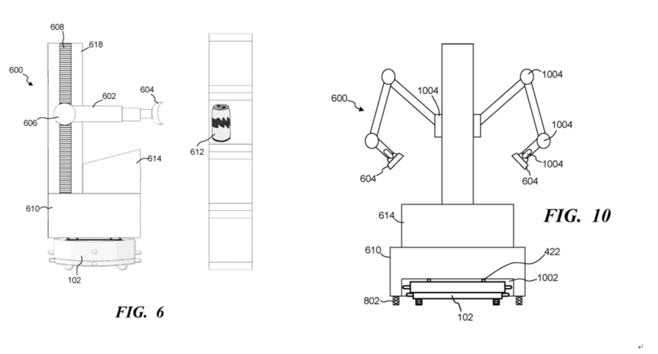
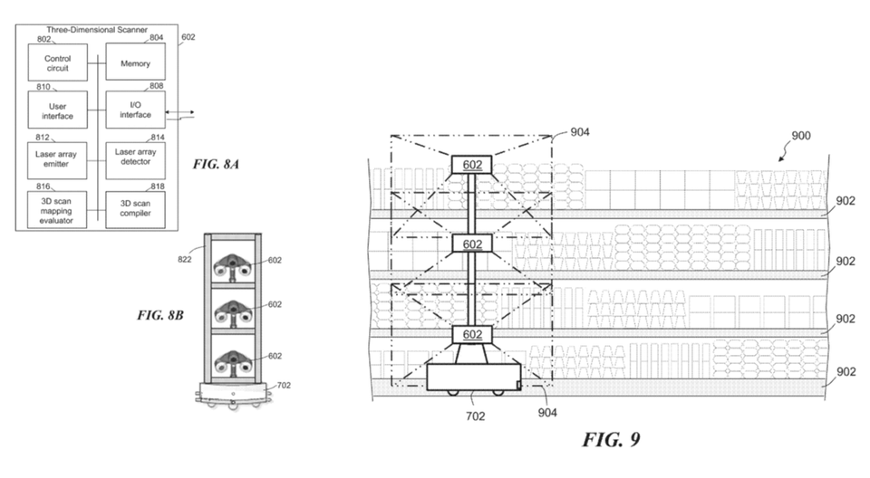
(代表文献番号:US-A-190169005)
3Dスキャナを付けたロボットにより店内を巡回することで、棚に陳列されている商品の状態を確認する特許です。通常、正面から棚に陳列された商品をスキャンしても、商品の重なりによって、奥に何個の商品があるかを判断することは困難です。本特許では、タワー型ロボットが商品に対して斜めからの3Dスキャンを行うことで、“前から何個取られているのか”や“後ろに何個の商品があるのか”を読み取ることができます。
出典:J-PlatPat(特許情報プラットフォーム)
(https://www.j-platpat.inpit.go.jp/c1800/PU/US-A-190169005/13D196CFE1D60DBC58032C45C4E3CBB99A7E7C6182C8CB6951850ED171703501/50/ja)
(代表文献番号:US-A-190292030)
ユーザがオンラインなどで選択した商品を自動でピックアップして運んでくれる移動式ロボットの特許です。店内で移動可能なサイズのロボットに商品をピックするアームが付与されており、商品の陳列されている棚まで移動したのち、アームで商品をピックアップします。
出典:J-PlatPat(特許情報プラットフォーム)
(https://www.j-platpat.inpit.go.jp/c1800/PU/US-A-190292030/287FE04678BDE5C0B9322E2341F4E188A72A3ADD09F0CBB41A936BC6928E954B/50/ja)
自律型カート移動ロボット特許
(代表文献番号:US-A-190185302)
ユーザーの欲しいモノリストを受け取ることで、ショッピングカートで自動的に店内のルート誘導をしてくれるロボットの特許です。お掃除ロボット「ルンバ」のような形状で、このロボットがショッピングカートのホイール部分を下から持ち上げることで移動を可能にするようです。店内ルートは、最短ルート、混雑していないルート、過去の購買履歴からのパーソナライズされたおすすめルートなど複数からユーザが選択できます。
(代表文献番号:US-A-190263644)
放置されているショッピングカートを自動で本来あるべき格納場所へ返却したり、ユーザにショッピングカートを届けたりしてくれるロボットの特許です。ショッピングカートの状態(利用可能、放置など)をシステムで管理し、状態に合わせてロボットがカートを移動させます。ロボットの形状は、上記特許(代表文献番号:US-A-190185302)と同じものです。
出典:J-PlatPat(特許情報プラットフォーム)
(https://www.j-platpat.inpit.go.jp/c1800/PU/US-A-190263644/6B0CDDF4A499A2CF04C7E68A37D2D2DC35D2DEA44C1DB357DBED07AE6B867E40/50/ja)
Walmartのねらいとその背景とは?
![]()
ご紹介した特許を眺めると、品出しや在庫管理、カートの移動といった、従業員の単純作業を効率化しようとしていることがわかります。一見、人件費の削減が目的とも読み取れますが、従業員の作業品質平準化と顧客体験の変革が本当のねらいではないか、と私たちは考えています。例えば、店内ルート誘導を行う自律型カートロボット(代表文献番号:US-A-190185302)の例では、従業員が商品位置を把握できていなくても、欲しい商品がある位置までロボットカートが誘導してくれる、という新しい顧客体験を生み出しています。
この推察の背景として、Walmartの離職率の高さが挙げられます。Walmartは特許の中でも、“離職率が高いことにより、従業員が十分なトレーニングを受けていない場合や、お客さま を適切にサポートするための情報にアクセスできない場合がある”と言及しています。離職率の高さが顧客満足度に悪影響を与えないための解決策の一つとして、Walmartはロボットを活用しているのです。
日本での店内ロボット活用の方向性・可能性は?
![]()
みなさんが認識されている通り、現時点で日本の小売業界全体として店内ロボット活用は進んでいないのが現状です。
大きな理由は、コスト削減効果の小ささと考えています。日本の小売業の人件費は国内でも最低賃金水準であり、アメリカの人件費に比べても半分程度しかありません。このため、ロボットの導入・運用費に対して削減できる人件費が少なく、投資回収が困難なケースが想定されます。また、従業員の業務が多岐に渡るため、ロボット導入が一部の業務の代替に留まり、人件費抑制には繋がらない点も妨げだと考えています。
一方、ロボット活用によって享受できる、売上向上に寄与する価値に着目してみるのはどうでしょうか。例えばWalmartのように、来店したお客さまに先回りして、商品ピックアップや店内誘導を行うことによって顧客満足度が向上すれば、リピート率向上や売上向上に繋がるシナリオが描ける可能性は十分あります。
さらに異なる目線で考えてみると、「ハウステンボス 変なレストランROBOT」のようにエンターテインメント性を持たせることによって、集客向上ができるかもしれません。店舗に対するお客さまの期待に応じて、利便性向上といった「機能的価値」に加え、こうした「情緒的価値」にも訴えかけることができれば、単なるコスト削減だけではないロボット活用の可能性を見出すことができると考えています。
このようにまだビジネス面では仮説でしかないものの、技術的な実用性が既に見えている現状を踏まえ、私たちは早いうちから店内ロボット活用の検討を進め、他社より多くの知見を蓄えておくことが重要と考えています。
小売業界では、人手不足や長時間労働などの業界課題が深刻化しています。加えて昨今は、新型コロナウィルス感染症の流行によって、「非接触」のニーズへの対応など、リアル店舗の新しい価値を考える 重要性も高まっています。 ロボットはこれらの状況に有効な解決策の一つとして、近い将来、日本の小売にも普及していくでしょう。その「来るべき時」に向け、まずは限定的でも、ロボット活用を進めていくことが将来への備えになるのではないでしょうか。

